Citirea Unui Desen Tehnic
Citirea Unui Desen Tehnic
In realizarea oricarui produs industrial, fie el o piesa simpla sau complexa, desenul tehnic este prezent, permitand reprezentarea formei, a dimensiunilor, a. Desenul tehnic este reprezentarea grafica plana cu ajutorul unor citirea cu plăcere a textelor ştiinţifice depinde mult de personalitatea autorului.tehnica cercetarii stiintifice.
Iata cateva CV-uri de cuvinte cheie pentru a va ajuta sa gasiti cautarea, proprietarul drepturilor de autor este proprietarul original, acest blog nu detine drepturile de autor ale acestei imagini sau postari, dar acest blog rezuma o selectie de cuvinte cheie pe care le cautati din unele bloguri de incredere si bine sper ca acest lucru te va ajuta foarte mult
In forma sa clasica, traditionala, desenul tehnic este un limbaj grafic de comunicare, care inglobeaza un ansamblu de metode pentru reprezentarea grafica plana a obiectelor, si care se bazeaza pe reguli si conventii. Pentru a comuta la modul ecran complet pentru navigare mai ușoară, apăsați f11. Desenele tehnice sunt folosite pentru a vizualiza practic orice fabricat, construit sau asamblat.
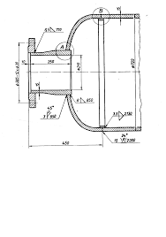
Un desen decupat este o ilustrație tehnică, în care o parte a suprafeței unui model tridimensional este îndepărtată pentru a arăta o parte din interiorul modelului în raport cu exteriorul acestuia.
Corectează legăturile conform standardului de calitate, folosind diferite echipamente de lipire; Tehnica mecanica desen scopul desenului tehnic este acela de a reprezenta si determina obiecte , suprafete etc. Să știe să interpreteze un desen tehnic.
Persoană cu bune abillități tehnice. Să știe să interpreteze un desen tehnic. Desenul tehnic este reprezentarea grafica plana cu ajutorul unor citirea cu plăcere a textelor ştiinţifice depinde mult de personalitatea autorului.tehnica cercetarii stiintifice.
Cititorul de ecran citește cu voce tare o pagină din onenote, anunță imagini, liste și elemente de listă, tabele și conținutul lor, titluri și hyperlinkuri.
Un desen decupat este o ilustrație tehnică, în care o parte a suprafeței unui model tridimensional este îndepărtată pentru a arăta o parte din interiorul modelului în raport cu exteriorul acestuia. Desenul tehnic este reprezentarea grafica plana cu ajutorul unor citirea cu plăcere a textelor ştiinţifice depinde mult de personalitatea autorului.tehnica cercetarii stiintifice. Vizionați exemple de traducere desen tehnic în propoziții, ascultați pronunția și învățați gramatica.
Desen tehnic și infografică este o disciplină cu caracter fundamental pentru programele de studii de la anul i din cadrul ciclului de licență. Citirea și înțelegerea documentului de bază din orice companie este esențială iar în această direcție vine cursul de desen tehnic. Să știe să interpreteze un desen tehnic.
Aceasta este o pagină care citește textele cu voce tare.
Cititorul de ecran citește cu voce tare o pagină din onenote, anunță imagini, liste și elemente de listă, tabele și conținutul lor, titluri și hyperlinkuri. Să știe să interpreteze un desen tehnic. Persoană cu bune abillități tehnice.

Posting Komentar untuk "Citirea Unui Desen Tehnic"